Nintendo Switch: Das Dock könnte ein Upgrade erhalten, das es von Anfang an hätte geben sollen

Das Patent lässt euch die Switch endlich so orientieren, wie es euch gefällt.

Nintendo will das Design des Switch-Docks wohl funktionaler gestalten. (Bildquelle: Nintendo) Nintendo will das Design des Switch-Docks wohl funktionaler gestalten. (Bildquelle: Nintendo)

Ein kürzlich genehmigtes Nintendo-Patent zeigt eine neue Docking-Station für die Switch-Konsole: Ein drehbarer Stecker-Hub soll für einen komfortableren Anschluss sorgen.

Warum das wichtig ist: Bisher waren die Anschlüsse des Switch-Docks nach rechts ausgerichtet - bei manchen Nutzern führte dies zu falsch herum aufgestellten Konsolen oder verbogenen Kabeln.

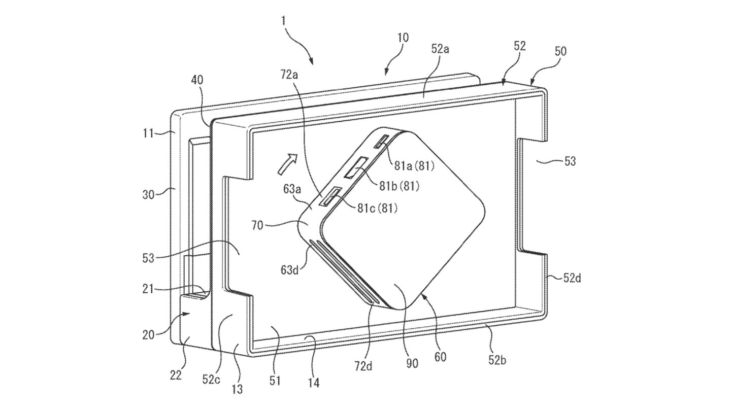
Im Detail: Das angemeldete Patent soll hier Abhilfe schaffen und die benötigte Orientierung problemlos ermöglichen.

  • Die Anschlüsse werden hier in einem Hub platziert, welches sich um 180 Grad drehen lässt.
  • An der Docking-Station selbst finden sich links und rechts jeweilige Öffnungen, um Kabel durchzuführen.
  • Nach oben hin scheint das Kabelmanagement nicht vorgesehen zu sein.

So sieht die Rückseite des patentierten Docks aus. (Bildquelle: USPTO) So sieht die Rückseite des patentierten Docks aus. (Bildquelle: USPTO)

Keine neuen Anschlüsse zu sehen: Das Patent selbst geht ausschließlich auf den rotierenden Hub ein, Hinweise auf sich möglicherweise ändernde Anschlüsse gibt es nicht.

Stattdessen beruft sich Nintendo in diesem Kontext auf allgemeingültige Aussagen und gibt folgende drei Buchsen an:

  • Ein externer Anschluss für die Stromversorgung
  • Ein externer Anschluss für den Videoausgang (etwa HDMI, DisplayPort, DVI oder ein anderer Standard)
  • Ein externer Anschluss für die Datenübertragung (etwa USB, Thunderbolt oder ein anderer Standard)

Der Hintergrund zum Patent: In der vergangenen Woche wurde das Patent Nr. 11947389 vom US-Patentamt genehmigt.

Eingereicht wurde das 39 Seiten lange Dokument aber bereits am 12. Juli 2021; Nintendo arbeitet potenziell also wohl schon seit geraumer Zeit an der verbesserten Docking-Station.

Allerdings gibt es bei solchen Patentanmeldungen wie immer einige Dinge zu beachten:

  • Ein genehmigtes Patent bedeutet nicht immer automatisch, dass das angemeldete Feature auch tatsächlich marktreif wird.
  • Entsprechend ist unklar, ob und wann Nintendo das überarbeitete Dock zum Release der Switch 2 einbringen wird.
  • Theoretisch denkbar wäre nämlich auch, dass die geänderte Docking-Station für eine neue Revision der ersten Switch eingeführt wird - oder eben gar nicht.
zu den Kommentaren (12)

Kommentare(11)
Kommentar-Regeln von GameStar
Bitte lies unsere Kommentar-Regeln, bevor Du einen Kommentar verfasst.

Nur angemeldete Benutzer können kommentieren und bewerten.