Samsung lässt euch in Zukunft eure Laptops und Co. über einen Ring steuern

Letztes Jahr hat Samsung seinen ersten Smart-Ring auf den Markt gebracht. So wie es aussieht, wartet schon der nächste Ring auf seinen Finger.

Displays verschieben im Handumdrehen: Samsungs Smart-Ring könnte künftig auch zur Steuerung von Laptop und Co. genutzt werden. (Bild: KI-Bild, mit ideogram.ai generiert) Displays verschieben im Handumdrehen: Samsungs Smart-Ring könnte künftig auch zur Steuerung von Laptop und Co. genutzt werden. (Bild: KI-Bild, mit ideogram.ai generiert)

Letztes Jahr veröffentlichte Samsung seinen ersten Galaxy-Ring. Jetzt wurde ein Patent für einen weiteren Ring veröffentlicht, mit dem ihr allerdings nicht nur euren Gesundheitszustand überwacht.

Was kann der neue Samsung-Ring?

Während ihr mit dem Galaxy-Ring unter anderem eure Hauttemperatur, Herzfrequenz oder Schlafphasen trackt, geht der neue Ring in eine ganz andere Richtung.

Laut dem angemeldeten Patent kann der Samsung-Smart-Ring mit anderen Samsung-Geräten verbunden werden. So soll es euch möglich sein, Fenster und Elemente von einem Display auf das andere zu schieben.

Verschieben von Elementen Die Bilder lassen vermuten, dass es eine Internetverbindung braucht, um die Geräte miteinander zu koppeln. Bild: WIPO.

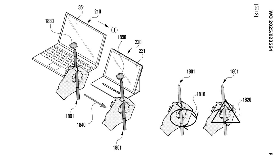
Samsung S Pen Auch der Samsung S Pen kriegt seine Bühne in dem Patent. Man kann nur vermuten, dass auch dieser mit dem Ring kommuniziert. Bild: WIPO.

So steht es auch im erklärenden Text:

Der Prozessor kann gemäß einer Ausführungsform die Anordnung des Displays und eines zweiten Displays des zweiten elektronischen Geräts auf der Grundlage des identifizierten relativen Standorts des zweiten elektronischen Geräts konfigurieren.

Außerdem heißt es, dass im eingegangenen Dokument weitere Ausführungsformen möglich sind. Ob damit weitere Features oder Bedienungsmöglichkeiten gemeint sind, ist noch nicht bekannt. Angemeldet wurde das Patent am 9. Juli 2024 — wann der Ring erscheint, was er alles können wird und was es für eine optimale Bedienung braucht, erfahrt ihr bei uns.

zu den Kommentaren (0)

Kommentare(0)
Kommentar-Regeln von GameStar
Bitte lies unsere Kommentar-Regeln, bevor Du einen Kommentar verfasst.

Nur angemeldete Benutzer können kommentieren und bewerten.