GameStar Logo
Plus Shop
GameStar Logo
  • GameStar Logo
  • Menu
    • Spiele
      • News
      • Spiele-Tests
      • Videos
      • Meinung
      • Previews
      • Guides
      • PC-Spieledatenbank
      • Release-Liste
    • News
      • Alle News
      • Spiele-News
      • Entertainment-News
      • Tech-News
    • Videos
      • Alle Videos
      • Neueste Videos
      • Test-Videos
      • Video-Talks
      • Alle Plus-Videos
      • Specials & Previews
    • Tech
      • News
      • Deals
      • Tests
      • Guides
      • Kaufberatung
      • GameStar PC
      • Übersicht
    • Podcasts
      • Alle Talks & Podcasts
      • GameStar Podcast
      • Was spielst du so?
      • GameStar Tech Podcast
      • Bonusfolgen für Plus
    • Community
      • Forum
      • Umfragen
      • Gewinnspiele
      • Key-Verlosungen
      • Übersicht
  • Plus
  • Shop
  • Anmelden
GameStar Plus
  • Vollversion
  • Podcasts
  • Heftarchiv
  • Übersicht
News
  • Alle News
  • Spiele-News
  • Entertainment-News
  • Tech-News
  • Übersicht
Spiele
  • News
  • Spiele-Tests
  • Videos
  • Meinung
  • Previews
  • Guides
  • Spieledatenbank
  • Release-Liste
  • Übersicht
Entertainment
  • News
  • Trailer
  • Tipps, Kritiken und Meinungen
  • Trivia
  • Übersicht
Tech
  • Tests
  • Guides
  • Kaufberatung
  • Übersicht
Videos
  • Alle Videos
  • Neueste Videos
  • Test-Videos
  • Video-Talks
  • Plus-Videos
  • Specials & Previews
Podcasts
  • Alle Talks & Podcasts
  • GameStar Podcast
  • Was spielst du so?
  • GameStar Tech Podcast
  • Bonusfolgen für Plus
Community
  • Forum
  • Umfragen
  • Gewinnspiele
  • Key-Verlosungen
  • Übersicht
Unser Team
Shop
  • Abo-Shop
  • GameStar Shop
GameStar PC
Deals
Partnerseiten
  • GamePro
  • Mein MMO
  • Xbox Dynasty
Jobs
Benutzername
Passwort
Passwort vergessen?

Neu bei GameStar?

Registriere dich jetzt kostenlos

Jetzt kostenlos registrieren
0 Mitteilungen alles gelesen
Alle anzeigen

Alle Inhalte von Tobias Ritter

  7.041 Inhalte   Zuletzt am 14.12.2017 aktualisiert

Tobias ist mit C64 und Datasetten aufgewachsen, hat seinen in Technik-Dingen unbedarften Eltern durch das erste Modem Anfang der 90er Telefonrechnungen in ungeahnter Höhe beschert und widmet sich bis heute (nicht nur) in seiner Freizeit Computer- und Videospielen. Auf bestimmte Genres beschränkt er sich dabei nicht: Strategiespiele, Shooter, Rollenspiele - irgendwie haben doch alle ihre ganz eigene Suchtspirale, oder?! Ach ja, und dann ist da auch noch die Sache mit dem Schreiben: Als Autor und Texter ist Tobias unter anderem im Gaming-Bereich unterwegs.

Zur Profilseite
Fliegende Warenhäuser - Amazon plant den »Todesstern des E-Commerce«   80  

29.12.2016

Fliegende Warenhäuser - Amazon plant den »Todesstern des E-Commerce«

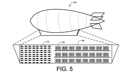
Amazon hat sich beim US-Patentamt ein futuristisches Konzept für die zukünftige Lager und Auslieferung von Waren schützen lassen. Es geht um riesige Zeppelin-Warenhäuser in der Troposphäre und Drohnen.


Teure Überraschung - Kind nutzt Fingerabdrücke der schlafenden Mutter für Amazon-Einkäufe   60  

29.12.2016

Teure Überraschung - Kind nutzt Fingerabdrücke der schlafenden Mutter für Amazon-Einkäufe

Eine Sechsjährige aus den USA hat das Smartphone ihrer Mutter freischalten können und ist damit auf Shopping-Tour bei Amazon gegangen.


Clash of Clans - Angst vor Stammesfehden: Iran verbietet Mobile-Game   15  

29.12.2016

Clash of Clans - Angst vor Stammesfehden: Iran verbietet Mobile-Game

Die iranische Regierung hat Clash of Clans auf den Index gesetzt. Damit reagiert die Politik auf eine psychologische Studie, die dem Mobile-Game ein hohes Suchtpotenzial und eine Gefährdung der öffentlichen Ordnung zuschreibt.


Vaporware Awards 2016 - Star Citizen und Beyond Good + Evil 2 »ausgezeichnet«   29  

29.12.2016

Vaporware Awards 2016 - Star Citizen und Beyond Good & Evil 2 »ausgezeichnet«

Die englischsprachige Webseite Wired hat elf Spiele ausgewählt und mit jeweils einem Vaporware Award 2016 bedacht. Darunter befinden sich auch prominente Namen wie Star Citizen. Nicht jeder dürfte mit der Auswahl übereinstimmen.


The Division - Framerate-Boost und DirectX-12-Vollbildmodus   14  

28.12.2016

The Division - Framerate-Boost und DirectX-12-Vollbildmodus

Einige Spieler von The Division klagen seit Patch 1.5 über Performance-Probleme im Spiel. Ein Reddit-Nutzer hat nun eine mögliche Lösung gefunden.



Mass Effect: Andromeda - Andromeda-Galaxie nicht vollständig erkundbar   40  

28.12.2016

Mass Effect: Andromeda - Andromeda-Galaxie nicht vollständig erkundbar

BioWare hat die Theorie eines Fans bestätigt, dass das neue Raumschiff in Mass Effect: Andromeda aufgrund fehlender Massenportale in der Andromeda-Galaxie einen vergleichsweise geringen Bewegungsradius haben wird.


DayZ Standalone - Welche Fortschritte es 2016 gab   28  

28.12.2016

DayZ Standalone - Welche Fortschritte es 2016 gab

Bohemia Interactive blickt auf das Entwicklungsjahr 2016 zurück und führt noch einmal auf, was sich in den vergangenen zwölf Monaten in der DayZ-Standalone alles getan hat. Der neue Renderer gilt als wichtigster Meilenstein.


Dead Rising 4 - Entwickler wollen 2017 Fan-Wunsch umsetzen   9  

28.12.2016

Dead Rising 4 - Entwickler wollen 2017 Fan-Wunsch umsetzen

Capcom geht auf einen der am häufigsten geäußerten Fan-Wünsche für Dead Rising 4 ein: 2017 soll das Zombie-Actionspiel neue Schwierigkeitsgrade erhalten.


Star Wars: Battlefront 2 - DICE: »Battlefield und Battlefront können voneinander lernen«   22  

28.12.2016

Star Wars: Battlefront 2 - DICE: »Battlefield und Battlefront können voneinander lernen«

DICE hat der Forderung einiger Fans nach einer Implementierung des aus Battlefield bekannten Conquest-Modus in Star Wars: Battlefront 2 eine Absage erteilt. Dennoch könnten beide Shooter-Reihen etwas voneinander lernen, heißt es.


Super Mario Run - Neuer Download-Meilenstein erreicht, Geschenk für Spieler   24  

27.12.2016

Super Mario Run - Neuer Download-Meilenstein erreicht, Geschenk für Spieler

Nintendo hat einen neuen Download-Rekord für Super Mario Run gemeldet. Zu der nach vier Tagen veröffentlichten und bereits zu diesem Zeitpunkt gemeldeten Zahl kommt noch einmal ordentlich etwas hinzu. Mittlerweile sind auch die Geschenk-Tickets verfügbar.


Auch Raubkopierer willkommen - Owlboy-Entwickler freuen sich über jeden Spieler   45  

26.12.2016

Auch Raubkopierer willkommen - Owlboy-Entwickler freuen sich über jeden Spieler

Die Entwickler des Indie-Jump'n'Runs Owlboy freuen sich über jeden einzelnen Spieler - ganz gleich, ob es ein Raubkopierer oder Käufer ist. Das Studio sieht sogar positive Aspekte in der illegalen Vervielfältigung seiner Arbeit.


MiniDayZ - Mobile-Release, bisher aber nicht in Deutschland   9  

26.12.2016

MiniDayZ - Mobile-Release, bisher aber nicht in Deutschland

Bohemia Interactive hat MiniDayZ in ausgewählten Regionen für iOS-Geräte veröffentlicht. Ein Termin für den Deutschland-Launch des kleinen DayZ-Bruders ist bisher nicht bekannt.


RollerCoaster Tycoon Classic - Mobiles Achterbahnbauen   11  

23.12.2016

RollerCoaster Tycoon Classic - Mobiles Achterbahnbauen

Atari möchte in RollerCoaster Tycoon Classic das Beste aus den beiden ersten Serienablegern RollerCoaster Tycoon und RollerCoaster Tycoon 2 zu einem Spiel vereinen - und zwar auf iOS und Android. Verantwortlich ist der Serien-Erfinder Chris Sawyer.


Star Wars: Battlefront 3 - Weiteres Gameplay aus dem eingestellten Shooter   20  

23.12.2016

Star Wars: Battlefront 3 - Weiteres Gameplay aus dem eingestellten Shooter

Im Internet ist erneut ein Gameplay-Video aus dem vor Jahren eingestellten Star Wars: Battlefront 3 aufgetaucht. Zu sehen gibt es den ersten Teil der ersten Mission des Shooters.


Race Driver: GRID - Kostenloser Download zu Weihnachten   9  

23.12.2016

Race Driver: GRID - Kostenloser Download zu Weihnachten

Race Driver: GRID ist für alle interessierten Spieler über Heiligabend hinweg gratis. Das Angebot ist im Humble-Store gültig. Die Auslieferung erfolgt über einen Steam-Key.


PC-Gaming-Markt 2016 - Größter Umsatz durch Free2Play- und Download-Spiele   23  

22.12.2016

PC-Gaming-Markt 2016 - Größter Umsatz durch Free2Play- und Download-Spiele

Das Marktforschungsunternehmen SuperData Research hat seine Daten für das Jahr 2016 präsentiert. Der Gesamtumsatz der Gaming-Branche lag diesmal bei 91 Milliarden US-Dollar. Auch dank Free2Play schlägt sich der Markt für PC-Spiele ganz gut.


DayZ - Positive Reaktionen auf Patch 0.61   38  

22.12.2016

DayZ - Positive Reaktionen auf Patch 0.61

Die Spieler von DayZ zeigen sich mit dem jüngsten Stable-Patch auf die Version 0.61 weitestgehend zufrieden. Die technischen Neuerungen, die Loot-Verteilung und auch die Zombies werden gelobt. Es gibt aber auch Kritik.


War Commander: Rogue Assault - Mobile-RTS für Fans von Command + Conquer   9  

22.12.2016

War Commander: Rogue Assault - Mobile-RTS für Fans von Command & Conquer

Der einstige Westwood-Studios-Gründer und Command-&-Conquer-Entwickler Louis Castle hat sein erstes Mobile-Game auf den Markt gebracht. War Commander: Rogue Assault ist ein Echtzeitstrategiespiel mit Einzel- und Mehrspielermodus.


Battletech - Tolle Nahkampf-GIFs zeigen boxende Mechs   8  

22.12.2016

Battletech - Tolle Nahkampf-GIFs zeigen boxende Mechs

An Battletech interessierte Spieler dürfen schon jetzt einen ersten Blick auf die Nahkampfanimationen der Mechs werfen. Eine Reihe animiertes GIFs verdeutlicht die gewaltige Wucht der Stahl-Ungetüme.


Half-Life 3 - Fan-Wunsch findet bei Steam-Awards-Wahl kein Gehör   61  

22.12.2016

Half-Life 3 - Fan-Wunsch findet bei Steam-Awards-Wahl kein Gehör

Half-Life-Fans finden immer wieder neue Wege, ihrem Wunsch nach einem Half-Life 3 Ausdruck zu verleihen. Bei den Steam Awards 2016 war es wieder soweit - allerdings wollte Valve diesmal absolut nichts davon wissen.


Mass Effect 2 doch nicht gratis - Kostenlos-Aktion entpuppt sich als Plüschtier-Verlosung   19  

22.12.2016

Mass Effect 2 doch nicht gratis - Kostenlos-Aktion entpuppt sich als Plüschtier-Verlosung

Mit der Ankündigung einer täglichen Geschenke-Aktion bis Heiligabend hat BioWare gestern für Verwirrung gesorgt. Wohl aufgrund eines Origin-Preisfehlers hielten viele Mass Effect 2 für eines der Geschenke. Ein Trugschluss.


Super Mario Run - 40 Millionen Downloads in vier Tagen   8  

22.12.2016

Super Mario Run - 40 Millionen Downloads in vier Tagen

Nintendo meldet Rekordzahlen für Super Mario Run: Trotz des ausstehenden Android-Releases wurde die App bisher mehr als 40 Millionen Mal heruntergeladen. Unklarheit herrscht bezüglich des Umsatzes.


Star Wars: Battlefront - DLC »Rogue One: Scarif« macht Probleme   3  

22.12.2016

Star Wars: Battlefront - DLC »Rogue One: Scarif« macht Probleme

Der DLC »Rogue One: Scarif« für Star Wars: Battlefront hat offenbar nicht nur neue Inhalte mit sich gebracht, sondern auch neue Probleme. Unter anderem sind für einige Spieler manche Season-Pass-Inhalte nicht mehr aufrufbar.


Star Citizen - Spieler befürchten Auswirkungen durch Crytek-Krise   35  

21.12.2016

Star Citizen - Spieler befürchten Auswirkungen durch Crytek-Krise

Nachdem es Spekulationen darüber gab, die aktuelle Crytek-Krise könne sich auch auf Cloud Imperium Games und Star Citizen auswirken, hat der Studio-Chef Chris Roberts nun noch einmal klargestellt: Es gibt keine Abhängigkeiten zwischen beiden Unternehmen.


mehr anzeigen
wird geladen ...

Willkommen bei GameStar!

GS Logo

Weiter mit Werbung

Wie gewohnt mit personalisierter Werbung, Werbespots und Tracking. In den Datenschutzoptionen kannst du die dafür benötigten Verarbeitungszwecke und Partner einsehen. Weitere Informationen siehe Datenschutzerklärung.

Zustimmen

Werbefrei mit GameStar Plus

Unbegrenzt alle Inhalte ganz ohne Werbebanner, Werbespots und Tracking. Ab 5,99€ pro Monat oder mit Plus einloggen. Verarbeitungszwecke und Partner fndest du in den Datenschutzoptionen. Weitere Details siehe Datenschutzerklärung.

Mehr erfahren

Für die Weiterentwicklung und Finanzierung unseres Angebotes erheben und verarbeiten wir und bis zu 255 Partner personenbezogene Daten und Identifikationsmerkmale wie, Gerätekennungen oder IP-Adressen und erfassen individuelles Nutzungsverhalte mit Cookies oder ähnlichen Verfahren gemäß § 25 Abs. 1 TDDDG sowie Art. 6 Abs. 1 lit. a DSGVO. Die Verarbeitungszwecke sind Datenverarbeitung zur Anzeige und Optimierung von personalisierter Werbung mit Profilbildung, Analyse, Personalisierung und Optimierung von eigenen Produkten und Inhalten (Marketing, Analyse, A/B-Testing), Push-Benachrichtigungen und Kommunikation, technisch erforderliche Cookies (Sicherheit, Anmeldung, Kommentare, Forum).

Die Datenverarbeitung kann unter Umständen auch außerhalb der EU oder des europäischen Wirtschaftsraums erfolgen, beispielsweise in den USA. Wir schützen deine Daten in diesen Fällen gemäß Art. 45 ff. DSGVO. In den Datenschutzoptionen kannst du die Datenverarbeitungen jederzeit einsehen oder deine Einwilligung insgesamt zurücksetzen.


Impressum Nutzungsbestimmungen Datenschutz Kontakt Mit Plus einloggen
Newsletter bestellen

Hol' dir die neuesten Infos zu Games und Hardware direkt ins Postfach

RUBRIKEN
Impressum | Unser Team | Unser Kodex | Über Webedia | Abo kündigen | Bestellung widerrufen | Karriere | Newsletter | Kontakt | Nutzungsbestimmungen | Mediadaten | Datenschutzerklärung | Cookies & Tracking | Transparenzbericht

MEDIENGRUPPE
GameStar | GamePro | Mein MMO | GetHero | Jeuxvideo.com

SOCIAL MEDIA
Twitter | Facebook | Instagram | TikTok | WhatsApp

Copyright © Webedia - alle Rechte vorbehalten

Webedia Logo
Login

Bitte logge dich ein, um diese Funktion nutzen zu können.